|
海天注塑机:为查明故障原因和大致的故障范围,在检修电机机械故障前,应对电机外部进行以下检查:
-
检查转子转动是否灵活、平稳、轴向是否游动,有无不正常的声响。
-
检查轴承是否松动或卡住。
-
检查风道有无堵塞,风叶及散热片等是否完好。
-
对于容量较大的电机,端盖上一般都有测气隙孔,可通过测气隙孔检测气隙不均匀度的平均值是否在15%以内。
-
通电运转,采用手摸、耳听、鼻闻及眼观等方法检查电机是否正常。一旦发现异常应立即切断电源,以防故障扩大。
经检查大体确定故障性质并明确检修范围后,方能拆卸电机进一步详细检查和修理。
对于电机内的机械部分,应进行以下检查:
当转子表面只有一处擦痕,而定子表面却全部擦伤时,是转轴弯曲或转子不平衡造成的;当定子表面只有一处擦痕,而转子表面一周均有擦伤时,则是定、转子不同心而造成的,如机座和端盖止口变形或轴承磨损严重致使转子下沉等;如果定、转子表面均有较大面积擦痕,则是上述两种原因共同造成的。
若未对齐,相当于铁芯缩短,则磁通密度增大而导致铁芯过热,其原因是转子铁芯轴向窜位或更换了新转子不适宜造成。除此,尚应检查定、转子铁芯有无沿圆周方向移动现象。如果有移动现象,说明紧固定子的螺钉松动或损坏丢失,或者是转子铁芯与轴配合不紧。
在检修电机时常需将电机拆开,若拆卸不当会损坏电机。因此,电机维修人员必须掌握正确拆卸及装配电机的技术。
拆卸电机时应按下述步骤进行:
-
拆除外部所有接线,并标记好各线端,尤其是具有极性的线端(直流电机)。
-
拆卸皮带轮或联轴器,记录联轴器与轴台距离。
-
拆除换向器侧端盖及轴承盖螺钉,打开端盖。
-
打开换向器侧端盖的通风窗,从刷握中取出电刷,拆下接到刷杆上的连线并做好标记。
-
在拆卸换向器侧端盖之前,在端盖与机座的接合处做好标记,然后垫上木板,用铁锤均匀地敲打端盖边缘,使端盖止口慢慢地脱离机座及轴承外套圈。再标记好刷架位置,取出刷架。
-
用厚纸或布将换向器包好,以保持换向器清洁干净并避免碰伤。
-
拆除轴伸侧的端盖螺钉,将电枢连同端盖从定子铁芯内抽出,操作时应注意不要碰伤电枢绕组。
-
欲更换轴承,可拆除轴伸侧的轴承螺钉,取下轴承外盖、端盖及轴承。
-
拆下的所有零部件,应按拆卸顺序放置并保存好,以免遗失,且有利于装配时得心应手。
在装配电机时,其操作步骤与拆卸时相反,只需按标记将各零部件及接线复位即可。
皮带轮或联轴器的拆卸方法及步骤如下:
1、先将皮带轮或联轴器上的固定螺钉拧松或敲下销子,并在皮带轮或联轴器的内孔与转轴的接触缝内加入煤油,予以渗透润滑。之后用专用抓手拉轴器(又称拉模)慢慢地把皮带轮或联轴器拉出来,如图1-1中(a)所示。使用拉轴器时要顶正,螺杆中心应对准转轴的中心线,并注意皮带轮或联轴器的受力情况,不要将轮绝缘拉破或损坏拉轴器。
图1-1 用拉轴器拆卸皮带轮或联轴器
2、若皮带轮或联轴器装得很紧或锈住,不易拆下,可用湿布包住转轴,用喷灯将皮带轮或联轴器迅速均匀加热,使其受热膨胀,趁势将其拉出拆下。
3、亦可用端部成楔形的方铁斜方向顶住皮带轮或联轴器的内圈,如图1-1中(b)所示,用小铁锤敲打方铁的另一端,将皮带轮或联轴器拆下。
如不需要清洗电机的轴承或轴套时,就不必拆卸联轴器。
安装皮带轮或联轴器,有冷装及热套装两种方法:
1、冷装时,应先对准键槽或止紧螺钉孔。对于中小型电机,在皮带轮或联轴器的端面上垫上木块,用手锤慢慢敲入。若敲入有困难,可在轴的另一端垫上木块并顶在墙上,再敲入皮带轮或联轴器。对于大型电机,可用千斤顶把皮带轮或联轴器压入转轴中。但要用固定的支承架顶住电机的另一端及千斤顶的底部。
2、热套装是指对过盈配合的皮带轮或联轴器进行加热,使其膨胀到一定程度,趁势将其迅速套到转轴上。因为皮带轮或联轴器的孔与轴多是采用过盈配合传递扭矩的。
热套装的加热方法有烘炉加热和热油煮两种:
1、采用烘炉加热时,将皮带轮或联轴器置于烘炉中,为使其受热均匀,升温速度以60℃/h为宜,升温不能过快,加热时间依膨胀量而定。可用制备的所需膨胀的内径尺寸样针检测,待样针能伸入内孔时,即可进行热套。
2、采用热油煮时,是在装有变压器油的油箱中装一支撑架,将皮带轮或联轴器置于支架上,之后将油加热,使皮带轮或联轴器受热膨胀,趁势进行热套。为防止受热不均匀,皮带轮或联轴器不能与油箱底板直接接触。
电机刷架、风罩及风叶的拆卸方法如下:
1、对于封闭式电机,拆卸皮带轮或联轴器后,拧下外风罩的螺钉,取下风罩。之后拧下转子轴尾端风扇上的定位螺钉或取出销子,用木锤轻轻地均匀敲击风扇四周,风扇即可松脱取下。
2、对于绕线式电机,先松开刷架弹簧,抬起刷握卸下电刷,再取下电刷架。为确保装配时准确复位,拆卸前应做好标记。
3、对于小型电机,风扇可不必拆下,而是随转子一起抽出。当端盖内的轴承需注润滑脂或更换时,则应将风扇拆下。
4、风叶的拆卸方法应随安装方法不同而异。
风叶有的用夹紧螺钉固定,有的用支头螺钉固定,有的则是采用销子。新式塑料风叶上专门有两个方孔,是供使用拉轴器两只拉钩插入孔内拆卸用的。大型电机的风叶上近轴处专门钻有两个螺纹孔,是供交替地拧入与孔相称的两只螺钉,将风叶顶出来用的。大型电机的风叶装得较紧,不易拆下。因此,在拆卸风叶时,应仔细观察风叶的固定方法,之后采取相应的拆卸措施。
电机的端盖拆卸方法如下:
1、为避免装配时弄错,拆卸端盖前应在机壳与端盖接缝处做好标记。
2、拆卸滑动轴承端盖前,应先放出润滑脂(油),并将油环提起、绑好。
3、对于滑环或换向器电机,应取出或提起、绑牢电刷,并做好刷架位置标记,注意拆卸时不能碰伤电刷及提升装置。
4、对于负载端装有滚柱轴承的电机,应先拆卸非负载端。
5、一般小型电机只需拆风扇侧的端盖,先拆下端盖上的螺钉,之后将转子、端盖、轴承盖及风扇一起抽出。
6、对于大中型电机,由于转子较重,需拆卸两侧端盖。拆卸两面式端盖时,先松开上盖螺钉,再拧松下盖螺钉,然后揭开上盖,撬开后卸下上瓦,取出油环,拿下下瓦,卸下下盖。为便于装配,拆卸时应标记好负载端及非负载端。
7、拆卸滚动轴承端盖时,应先拆小盖,之后拆除大盖螺钉,卸下大盖。
8、为防止定子、转子相碰损伤,拆下端盖后应在气隙中垫上绝缘纸板。
9、拆下的小零件应存放在专用的零件箱内,并将每组零件按原样装配在一起,以便于总装配。
电机转子抽出方法取决于转子的结构、重量及修理现场所用的起重设备。
抽出电机转子的常用方法有4种:
1、小型电机的转子可用手直接从定子内取出,如图1-2所示。但应注意不能擦伤铁芯及绕组。

图1-2 用手抽出小型电机转子
2、当电机的转子风扇大于定子内孔时,应从风扇一侧抽出转子;对于有滑环或换向器的电机,则应从滑环或换向器一侧抽出转子。此时风扇、滑环或换向器不必拆下。
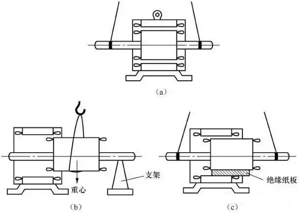
3、若电机转子较重,而轴伸又较长时,可使用吊车将转子抽出。操作时,用吊车的钢丝绳吊住转轴,如图1-3中(a)所示,将转子的重心慢慢移至定子外面,然后将其移出端放在垫有绝缘纸板的支架上,如图1-3中(b)所示。这时再将吊车钢丝绳改系在转子重心处,即可将转子吊出。当电机转子转轴较短时,不能使转子重心移出定子外面,可在转轴上加套一根长度适当的钢管(假轴)。
抽转子时要格外小心,防止将定子绕组擦伤,必要时可在线圈端部垫上绝缘纸板用以保护,如图1-3中(c)所示。
图1-3 用吊车抽出转子
4、对无法套装假轴的转子,可采用两次抽转子方法将其抽出。即,先用双钩抽转子,抽出一定长度后,将抽出的转子部分放在高度可调的支架上,定子内的那一部分暂时支持在定子铁芯上,如图1-4所示。之后,再将转子吊起抽出。
电机转子抽出后,应及时检查线圈、铁芯、槽楔、端部绑扎处有无碰伤。若有碰伤部位应及时修复。
图1-4 二次抽出转子方法
电机经拆卸被解体后,应对定、转子做以下的检查和清理:
-
用压缩空气或皮老虎,将定、转子上的尘埃清洁干净。
-
线圈上的油塔、污物,用洁净的抹布蘸酒精或四氯化碳等溶液擦拭干净。
-
清理铁芯、线圈及换向器等,不能使用金属工具,以防损坏绝缘,应选用干净的毛刷或柔软的抹布。
-
检查铁芯叠片是否紧密,有无毛刺及折角等缺陷;夹紧螺栓是否对称压紧,链、销等有无松动;通风沟内是否有杂物堵塞及通风片焊接牢固否。
-
检查线圈绝缘有无气泡、剥落及损伤;线圈的绑线、槽楔和垫块等是否齐全、紧固,有无松脱、窜动或槽楔突出铁芯等现象。
-
检查磁极与线圈固定是否牢靠,绝缘螺栓的绝缘是否良好,极掌上的补偿线圈是否楔紧以及连线有无弯折和短路等现象。
-
检查转子上的平衡块是否牢固,有无移位、脱落等现象。
-
检查电枢绕组绑线是否牢固,并头套、升高片及引线等有无损坏或焊接不良,缝间有无导电的异物。
-
检查笼型转子铜条(铝条)有无断裂,与端环的焊接是否牢固,有无裂纹或松脱等现象以及各引线有无损伤或折断。
在上述检查中,如发现问题应采取相应措施予以修复,损坏的进行及时更换。
电机的转轴与轴承的内圈是紧密配合的,通常是采用压入的方法,使轴承的内圈与轴颈紧压在一起,这样电机运转时,轴承内圈方能跟着转轴一起旋转。因此,拆卸电机轴承是件较麻烦的事。
常用的轴承拆卸方法如下:
1、用专用拉具拆卸轴承
采用专用拉具拆卸时,将拉具的脚放在轴承的内套圈上,而不能放在外套圈上,以防拉坏轴承,如图1-5所示。拉具丝杠的顶点应对准转轴中心,拉具要与转轴保持平行,转动手柄时用力需均匀,且旋转缓慢,以防过急拉坏轴承。为使拆卸容易,亦可在轴承内套圈与转轴间渗入些煤油再拉。
图1-5 用专用拉具拆卸轴承
2、用金属棒拆卸轴承
当没有专用拉具或不适于采用拉具拆卸时,可将金属棒顶在轴承的内套圈上,用手锤敲打金属棒,将轴承慢慢地从转轴上敲出,如图1-6所示。敲打时为防止轴承损坏,用力不能过于猛急,应轮流敲打轴承两对应侧,不能只敲打一侧,以使轴承内套圈受力均匀。
图1-6 用金属棒拆卸轴承
3、置于圆筒上拆卸轴承
将轴承放置在圆筒上,在轴承内套圈的下面垫两块铁板,再将铁板搁置在一只内径略大于转轴外径的圆筒上,如图1-7所示。为防止转轴弯曲及端部变形,不能用手锤直接敲打转轴端面,应在转轴端面上垫一块硬木板或铜块,再用手锤敲打木板或铜块。敲打时的着力点应对准转轴的中心,用力亦不能过于猛急。为防轴承脱落下时损坏转子或转轴,圆筒的底部应放置一些柔软的东西。此外,当轴承逐渐松动时,敲打力度亦应随之减小。
图1-7 置于圆筒上拆卸轴承
4、加热法拆卸轴承
采用加热法拆卸轴承,是利用热胀冷缩的原理,使轴承内套圈胀大后,将其拆下。它适于装配公差过紧或轴承氧化等使用上述方法难以拆卸的情况。加热前,为使轴承与转轴产生明显温差及防止热量散发,用浸过冷水的布把转轴包裹起来,之后把加热到100℃左右的机油浇淋在轴承的内套圈上,趁势将轴承拆下。
5、端盖孔内的轴承拆卸方法
当轴承的外套圈与电机端盖孔装配较紧时,拆下端盖后轴承的外套圈便留在电机端盖孔里。此时,可将端盖止口面朝上,平稳地放在两块铁板上,并注意不能卡住轴承,如图1-8所示。尔后将一段直径略小于轴承外径的金属棒顶在轴承外套圈上,用手锤慢慢地敲打金属棒即可将轴承外套圈推出。
图1-8 拆卸端盖孔内的轴承
|