|
无锡伯顿起重电机:为查明故障原因和大致的故障范围,在检修电机机械故障前,应对电机外部进行以下检查。
①检查机座、端盖有无裂纹,转轴有无裂痕或弯曲变形。
②检查转子转动是否灵活、平稳、轴向是否游动,有无不正常的声响。
③检查轴承是否松动或卡住。
④检查风道有无堵塞,风叶及散热片等是否完好。
⑤对于容量较大的电机,端盖上一般都有测气隙孔,可通过测气隙孔检测气隙不均匀度的平均值是否在15%以内。
⑥通电运转,采用手摸、耳听、鼻闻及眼观等方法检查电机是否正常。一旦发现异常应立即切断电源,以防故障扩大。
经检查大体确定故障性质并明确检修范围后,方能拆卸电机进一步详细检查和修理。
对于电机内的机械部分,应进行以下检查。
①检查定、转子铁芯表面有无擦伤痕迹。当转子表面只有一处擦痕,而定子表面却全部擦伤时,是转轴弯曲或转子不平衡造成的;当定子表面只有一处擦痕,而转子表面一周均有擦伤时,则是定、转子不同心而造成的,如机座和端盖止口变形或轴承磨损严重致使转子下沉等;如果定、转子表面均有较大面积擦痕,则是上述两种原因共同造成的。
②检查定、转子铁芯有无对齐。若未对齐,相当于铁芯缩短,则磁通密度增大而导致铁芯过热,其原因是转子铁芯轴向窜位或更换了新转子不适宜造成。除此,尚应检查定、转子铁芯有无沿圆周方向移动现象。如果有移动现象,说明紧固定子的螺钉松动或损坏丢失,或者是转子铁芯与轴配合不紧。
③检查转子端环有无裂纹或断裂,风叶是否损坏或变形以及转轴有无弯曲。
④检查轴承内外套与轴颈及轴承室的配合符合要求否,有无过紧或过松现象;检查轴承磨损程度,轴承是否完好以及润滑油(脂)是否过少或干涸。
在检修电机时常需将电机拆开,若拆卸不当会损坏电机。因此,电机维修人员必须掌握正确拆卸及装配电机的技术。
拆卸电机时应按下述步骤进行。
①拆除外部所有接线,并标记好各线端,尤其是具有极性的线端(直流电机)。
②拆卸皮带轮或联轴器,记录联轴器与轴台距离。
③拆除换向器侧端盖及轴承盖螺钉,打开端盖。
④打开换向器侧端盖的通风窗,从刷握中取出电刷,拆下接到刷杆上的连线并做好标记。
⑤在拆卸换向器侧端盖之前,在端盖与机座的接合处做好标记,然后垫上木板,用铁锤均匀地敲打端盖边缘,使端盖止口慢慢地脱离机座及轴承外套圈。再标记好刷架位置,取出刷架。
⑥用厚纸或布将换向器包好,以保持换向器清洁干净并避免碰伤。
⑦拆除轴伸侧的端盖螺钉,将电枢连同端盖从定子铁芯内抽出,操作时应注意不要碰伤电枢绕组。
⑧欲更换轴承,可拆除轴伸侧的轴承螺钉,取下轴承外盖、端盖及轴承。
⑨拆下的所有零部件,应按拆卸顺序放置并保存好,以免遗失,且有利于装配时得心应手。
在装配电机时,其操作步骤与拆卸时相反,只需按标记将各零部件及接线复位即可。
皮带轮或联轴器的拆卸方法及步骤如下。
①先将皮带轮或联轴器上的固定螺钉拧松或敲下销子,并在皮带轮或联轴器的内孔与转轴的接触缝内加入煤油,予以渗透润滑。之后用专用抓手拉轴器(又称拉模)慢慢地把皮带轮或联轴器拉出来,如图1-1中(a)所示。使用拉轴器时要顶正,螺杆中心应对准转轴的中心线,并注意皮带轮或联轴器的受力情况,不要将轮绝缘拉破或损坏拉轴器。
▲图1-1 用拉轴器拆卸皮带轮或联轴器
装备保障管理网http://www.zbbzgl.com/_中国工业设备管理维修专业门户网站
②若皮带轮或联轴器装得很紧或锈住,不易拆下,可用湿布包住转轴,用喷灯将皮带轮或联轴器迅速均匀加热,使其受热膨胀,趁势将其拉出拆下。
③亦可用端部成楔形的方铁斜方向顶住皮带轮或联轴器的内圈,如图1-1中(b)所示,用小铁锤敲打方铁的另一端,将皮带轮或联轴器拆下。
如不需要清洗电机的轴承或轴套时,就不必拆卸联轴器。
安装皮带轮或联轴器,有冷装及热套装两种方法。
①冷装时,应先对准键槽或止紧螺钉孔。对于中小型电机,在皮带轮或联轴器的端面上垫上木块,用手锤慢慢敲入。若敲入有困难,可在轴的另一端垫上木块并顶在墙上,再敲入皮带轮或联轴器。对于大型电机,可用千斤顶把皮带轮或联轴器压入转轴中。但要用固定的支承架顶住电机的另一端及千斤顶的底部。
②热套装是指对过盈配合的皮带轮或联轴器进行加热,使其膨胀到一定程度,趁势将其迅速套到转轴上。因为皮带轮或联轴器的孔与轴多是采用过盈配合传递扭矩的。
热套装的加热方法有烘炉加热和热油煮两种。
①采用烘炉加热时,将皮带轮或联轴器置于烘炉中,为使其受热均匀,升温速度以60℃/h为宜,升温不能过快,加热时间依膨胀量而定。可用制备的所需膨胀的内径尺寸样针检测,待样针能伸入内孔时,即可进行热套。
②采用热油煮时,是在装有变压器油的油箱中装一支撑架,将皮带轮或联轴器置于支架上,之后将油加热,使皮带轮或联轴器受热膨胀,趁势进行热套。为防止受热不均匀,皮带轮或联轴器不能与油箱底板直接接触。
电机刷架、风罩及风叶的拆卸方法如下。
①对于封闭式电机,拆卸皮带轮或联轴器后,拧下外风罩的螺钉,取下风罩。之后拧下转子轴尾端风扇上的定位螺钉或取出销子,用木锤轻轻地均匀敲击风扇四周,风扇即可松脱取下。
②对于绕线式电机,先松开刷架弹簧,抬起刷握卸下电刷,再取下电刷架。为确保装配时准确复位,拆卸前应做好标记。
③对于小型电机,风扇可不必拆下,而是随转子一起抽出。当端盖内的轴承需注润滑脂或更换时,则应将风扇拆下。
④风叶的拆卸方法应随安装方法不同而异。风叶有的用夹紧螺钉固定,有的用支头螺钉固定,有的则是采用销子。新式塑料风叶上专门有两个方孔,是供使用拉轴器两只拉钩插入孔内拆卸用的。大型电机的风叶上近轴处专门钻有两个螺纹孔,是供交替地拧入与孔相称的两只螺钉,将风叶顶出来用的。大型电机的风叶装得较紧,不易拆下。因此,在拆卸风叶时,应仔细观察风叶的固定方法,之后采取相应的拆卸措施。
电机的端盖拆卸方法如下。
①为避免装配时弄错,拆卸端盖前应在机壳与端盖接缝处做好标记。
②拆卸滑动轴承端盖前,应先放出润滑脂(油),并将油环提起、绑好。
③对于滑环或换向器电机,应取出或提起、绑牢电刷,并做好刷架位置标记,注意拆卸时不能碰伤电刷及提升装置。
④对于负载端装有滚柱轴承的电机,应先拆卸非负载端。
⑤一般小型电机只需拆风扇侧的端盖,先拆下端盖上的螺钉,之后将转子、端盖、轴承盖及风扇一起抽出。
⑥对于大中型电机,由于转子较重,需拆卸两侧端盖。拆卸两面式端盖时,先松开上盖螺钉,再拧松下盖螺钉,然后揭开上盖,撬开后卸下上瓦,取出油环,拿下下瓦,卸下下盖。为便于装配,拆卸时应标记好负载端及非负载端。
⑦拆卸滚动轴承端盖时,应先拆小盖,之后拆除大盖螺钉,卸下大盖。
⑧为防止定子、转子相碰损伤,拆下端盖后应在气隙中垫上绝缘纸板。
⑨拆下的小零件应存放在专用的零件箱内,并将每组零件按原样装配在一起,以便于总装配。
电机转子抽出方法取决于转子的结构、重量及修理现场所用的起重设备。
抽出电机转子的常用方法有4种。
①小型电机的转子可用手直接从定子内取出,如图1-2所示。但应注意不能擦伤铁芯及绕组。
▲图1-2 用手抽出小型电机转子
装备保障管理网http://www.zbbzgl.com/_中国工业设备管理维修专业门户网站
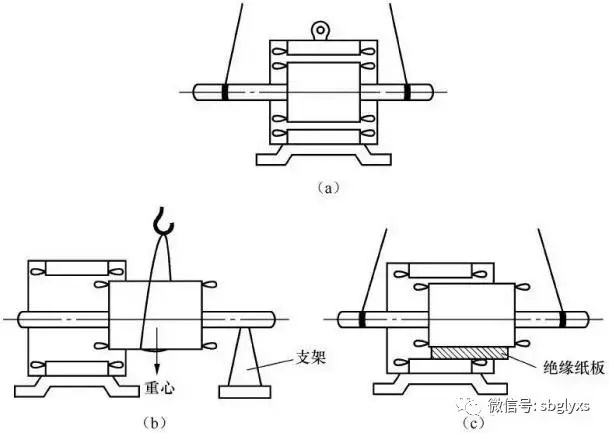
②当电机的转子风扇大于定子内孔时,应从风扇一侧抽出转子;对于有滑环或换向器的电机,则应从滑环或换向器一侧抽出转子。此时风扇、滑环或换向器不必拆下。
③若电机转子较重,而轴伸又较长时,可使用吊车将转子抽出。操作时,用吊车的钢丝绳吊住转轴,如图1-3中(a)所示,将转子的重心慢慢移至定子外面,然后将其移出端放在垫有绝缘纸板的支架上,如图1-3中(b)所示。这时再将吊车钢丝绳改系在转子重心处,即可将转子吊出。当电机转子转轴较短时,不能使转子重心移出定子外面,可在转轴上加套一根长度适当的钢管(假轴)。
抽转子时要格外小心,防止将定子绕组擦伤,必要时可在线圈端部垫上绝缘纸板用以保护,如图1-3中(c)所示。
④对无法套装假轴的转子,可采用两次抽转子方法将其抽出。即,先用双钩抽转子,抽出一定长度后,将抽出的转子部分放在高度可调的支架上,定子内的那一部分暂时支持在定子铁芯上,如图1-4所示。之后,再将转子吊起抽出。
电机转子抽出后,应及时检查线圈、铁芯、槽楔、端部绑扎处有无碰伤。若有碰伤部位应及时修复。
▲图1-3 用吊车抽出转子
▲图1-4 二次抽出转子方法
电机经拆卸被解体后,应对定、转子做以下的检查和清理。
①用压缩空气或皮老虎,将定、转子上的尘埃清洁干净。
②线圈上的油塔、污物,用洁净的抹布蘸酒精或四氯化碳等溶液擦拭干净。
③清理铁芯、线圈及换向器等,不能使用金属工具,以防损坏绝缘,应选用干净的毛刷或柔软的抹布。
④检查铁芯叠片是否紧密,有无毛刺及折角等缺陷;夹紧螺栓是否对称压紧,链、销等有无松动;通风沟内是否有杂物堵塞及通风片焊接牢固否。
⑤检查线圈绝缘有无气泡、剥落及损伤;线圈的绑线、槽楔和垫块等是否齐全、紧固,有无松脱、窜动或槽楔突出铁芯等现象。
⑥检查磁极与线圈固定是否牢靠,绝缘螺栓的绝缘是否良好,极掌上的补偿线圈是否楔紧以及连线有无弯折和短路等现象。
⑦检查转子上的平衡块是否牢固,有无移位、脱落等现象。
⑧检查电枢绕组绑线是否牢固,并头套、升高片及引线等有无损坏或焊接不良,缝间有无导电的异物。
⑨检查笼型转子铜条(铝条)有无断裂,与端环的焊接是否牢固,有无裂纹或松脱等现象以及各引线有无损伤或折断。
在上述检查中,如发现问题应采取相应措施予以修复,损坏的进行及时更换。
电机的转轴与轴承的内圈是紧密配合的,通常是采用压入的方法,使轴承的内圈与轴颈紧压在一起,这样电机运转时,轴承内圈方能跟着转轴一起旋转。因此,拆卸电机轴承是件较麻烦的事。
常用的轴承拆卸方法如下:
(1)用专用拉具拆卸轴承
采用专用拉具拆卸时,将拉具的脚放在轴承的内套圈上,而不能放在外套圈上,以防拉坏轴承,如图1-5所示。拉具丝杠的顶点应对准转轴中心,拉具要与转轴保持平行,转动手柄时用力需均匀,且旋转缓慢,以防过急拉坏轴承。为使拆卸容易,亦可在轴承内套圈与转轴间渗入些煤油再拉。

▲图1-5 用专用拉具拆卸轴承
(2)用金属棒拆卸轴承
当没有专用拉具或不适于采用拉具拆卸时,可将金属棒顶在轴承的内套圈上,用手锤敲打金属棒,将轴承慢慢地从转轴上敲出,如图1-6所示。敲打时为防止轴承损坏,用力不能过于猛急,应轮流敲打轴承两对应侧,不能只敲打一侧,以使轴承内套圈受力均匀。

▲图1-6 用金属棒拆卸轴承
(3)置于圆筒上拆卸轴承
将轴承放置在圆筒上,在轴承内套圈的下面垫两块铁板,再将铁板搁置在一只内径略大于转轴外径的圆筒上,如图1-7所示。为防止转轴弯曲及端部变形,不能用手锤直接敲打转轴端面,应在转轴端面上垫一块硬木板或铜块,再用手锤敲打木板或铜块。敲打时的着力点应对准转轴的中心,用力亦不能过于猛急。为防轴承脱落下时损坏转子或转轴,圆筒的底部应放置一些柔软的东西。此外,当轴承逐渐松动时,敲打力度亦应随之减小。
▲图1-7 置于圆筒上拆卸轴承
(4)加热法拆卸轴承
采用加热法拆卸轴承,是利用热胀冷缩的原理,使轴承内套圈胀大后,将其拆下。它适于装配公差过紧或轴承氧化等使用上述方法难以拆卸的情况。加热前,为使轴承与转轴产生明显温差及防止热量散发,用浸过冷水的布把转轴包裹起来,之后把加热到100℃左右的机油浇淋在轴承的内套圈上,趁势将轴承拆下。
(5)端盖孔内的轴承拆卸方法
当轴承的外套圈与电机端盖孔装配较紧时,拆下端盖后轴承的外套圈便留在电机端盖孔里。此时,可将端盖止口面朝上,平稳地放在两块铁板上,并注意不能卡住轴承,如图1-8所示。尔后将一段直径略小于轴承外径的金属棒顶在轴承外套圈上,用手锤慢慢地敲打金属棒即可将轴承外套圈推出。

▲图1-8 拆卸端盖孔内的轴承
电机的定子是通过轴承来支撑转子转动的,因此在电机中轴承是承受机械磨损严重而负载较重的部件,较容易发生故障,在电机的机械故障中所占的比例较大。在轴承圈上一般印有号码、符号,表示该轴承的类型、尺寸、系列及精密度等级等,当轴承损坏时,应更换号码及符号均相同的新轴承。
滚动轴承的代号由7位数字组成,各数字表示的含义如下:
类型
宽度系列:用阿拉伯数字表示。
· “1”——正常系列;“2”——宽系列;
· “3”、“4”、“5”、“6”——特宽系列;
· “7”——窄系列;
· “8”、“9”——特殊系列。
轴承结构:用一位或两位数字表示轴承的结构特点。
· 如“5”表示轴承的外径有止动槽,
· “15”则表示轴承带有防尘盖。
轴承类型:用代号表示。
· “0”——向心球轴承;
· “1”——向心球面球轴承;
· “2”——向心短圆柱滚子轴承;
· “3”——向心球面滚子轴承;
· “4”——长圆柱滚子轴承或滚针轴承;
· “5”——螺旋滚子轴承;
· “6”——向心推力球轴承;
· “7”——圆锥滚子轴承;
· “8”——推力球轴承或推力向心球轴承;
· “9”——推力滚子轴承或推力向心滚子轴承。
直径系列:用代号表示。
· “1”——特径系列;
· “2”——轻系列;
· “3”——中系列;
· “4”——重系列;
· “5”——轻宽系列;
· “6”——中宽系列;
· “7”、“8”——不定系列;
· “9”——内径非标准。
轴径:指电机等机械轴承的内径。
· 内径为20~295mm的轴承,是以轴径被5除所得的商来表示的;
· 内径10~20mm的轴承内径代号列于表1.1。
▲表1.1 10~20mm的轴承内径代号
常用的滚动轴承规格列于表1.2。
▲表1.2 常用滚动轴承规格
▲续表
在正常情况下滚动轴承是比较耐磨损的,但装配不当、护封不妥、润滑不足或润滑脂不纯以及有异物进入轴承内等,均会造成滚动轴承过早磨损。另外,轴颈与轴承内套圈、端盖孔与轴承外套圈之间发生游转时,亦将使轴承磨损。轴承的磨损程度是依据间隙来确定的,若间隙超过表1.3中所规定的较大磨损允许值,则应更换新轴承。
▲表1.3 电机轴承较大磨损允许值
异步电动机常用的滚动轴承型号列于表1.4和表1.5。
▲表1.4 J、JO、JQ及JQO系列异步电动机滚动轴承型号
▲续表
▲表1.5 J2、JO2系列异步电动机滚动轴承型号
当轴承与端盖孔间松动较大,可用凿子在端盖轴承室的圆周上凿一排印子卡紧轴承外套圈应急使用。
若加工面上有锈迹,可用00号砂布擦净后放在汽油中清洗。
轴承损坏时,可将几个同型号轴承拆开,选完好的拼凑组装成一只轴承使用。只缺少滚珠或滚珠损坏的轴承,可只更换滚珠,不必更换轴承。
此外,高速电机的滚动轴承磨损不严重时,可用在低速电机上。
滚动轴承常见故障现象、原因及排除方法列于表1.6。
▲表1.6 滚动轴承常见故障现象、原因及排除方法
▲续表
▲续表
电机的转子冲片直径在6000mm以下时,多是采用铸铝转子,而中型电机则采用铜条转子。鼠笼转子断条及断环,总称为断笼或断条。断条是指鼠笼中有一根或数根断裂或有严重气泡,而断环则是指端环中有一处或几处开裂。
通常,鼠笼转子比较坚固结实,不易损坏。但当铸铝或铸铜鼠笼转子制造工艺粗糙、质量不良或设计不合理,频繁启动及操作不当时,急促、猛烈的正反转将造成剧烈的冲击,导致鼠笼发生断条故障。
鼠笼式电机若转子只断条一或两根,对电机运行暂无明显影响,而断条严重则影响电机正常运行。
电机鼠笼转子断条严重时,将出现下列现象。
①电机启动转矩明显降低。如果停车后再次启动时,转子左右摆动,电机不能启动运转。
②带负载运行时,电流表指针做周期性摆动。
③满载时转速明显降低,转子过热,机身剧烈震动,温度增高,并有较大杂音。
④电机启动时,会从通风道内溅出火星等。
鼠笼转子发生断条故障时,通常采用以下方法进行检查。
(1)外观检查
实际检修经验表明,铸铝鼠笼转子的断裂点多发生在槽轴向长度的中心附近,而铜条转子的断裂点则多发生在笼条与端环焊接处,若系双笼转子其故障点多是出在上笼部位。此时,取出鼠笼转子,检查铁芯表面,笼条与端环交接处若有变色或过热及裂纹,即表明该处断条。
(2)更换转子检查
更换转子检查虽简单易行,但需更换上同型号良好转子进行试运转。如果更换转子后,电机运行一切恢复正常,则说明原鼠笼转子存在断条故障。
(3)通电检查
在定子绕组中通入约为额定电压10%的低压电流,在一相中串入电流表,用手慢慢地转动转子,此时电流表的读数若不稳定,而是大小循环变动,即表明转子有断条故障。
(4)铁粉检查
检查时将开关S合上,调节调压变压器,使电压从零逐渐升高,待升流器的电流逐渐增大时,转子表面即产生磁场,随后把铁粉撒在转子上。若铁粉一行行地沿着笼条方向整齐排列,表明转子完好无损。如果铁粉排列杂乱无章,或铁粉撒不上去,说明转子存在断条故障。
用铁粉检查转子时的接线图如图1-9所示。
(5)互感探测器检查
它是采用互感器原理,由大小两个开口铁芯组成,如图1-10所示。
▲图1-9 用铁粉检查转子接线图
▲图1-10 用互感探测器检查断条
线圈1接上电源,铁芯1与铁芯2形成闭合磁路,则部分磁通交链至铁芯2。当被测槽内的笼条完好无损时,笼条即有电流流过,形成一只相当于铁芯2的短路线圈,将阻止磁通通过铁芯2,这样探测器线圈2的感应电势很小。当移动铁芯2至断条槽口时,相当于短路线圈开路,则通过铁芯2的磁通增加,此时毫伏表的读数增大,表明笼条断裂。
(6)整机检查
在定子三相绕组中通入50~60V的低压电,以转子不能自转为准,之后用手缓慢转动转子。若三相电流不平衡,其电流又随转动角度而变化,即表明转子有断条故障。
铜条转子发生故障,应依据不同的损坏情况进行相应的修理。
(1)铜条与端环处局部开焊的修理
用锉刀清除故障部位的旧焊瘤及氧化层,将焊缝周围用尖凿凿出坡口,用30%硫酸溶液清洗。之后使用多把焊炬同时对端环加热。当温度达到400℃左右时,改用一把焊炬集中对欲焊部位加热,待温度升至800℃时,可将45%的银钎焊料润湿并填满焊缝,固化后端环与铜条开焊处即焊接牢固。
(2)槽外少数铜条断裂的修理
当槽外有少量铜条断裂时,应先加热铜条较长部分的端环焊缝处,待焊剂熔化后用铁锤打出该段铜条,之后用加热法再除去短段铜条。如果直线部分有凸起圆形铜条,则用铣床铣去端环焊接孔部位的铜条,然后用加热法除去铜条。断裂的铜条打出槽后,清除槽内杂物,再选用与旧铜条材质及几何尺寸相同的铜条插入槽内,将其焊牢即可。
(3)槽内少数铜条断裂的修理
在断条两端环上开一缺口,用凿子将断裂的铜条凿去,之后换上与铜条截面相同的新铜条。新铜条两端伸出端环在15mm左右,将其敲弯贴紧在端环上并焊牢。端环的缺口处用铜焊补上,其堆积高度应略高于端环面,放在车床上将端环表面车平后,校准转子静平衡即可。
(4)大量铜条断裂的修理
大量铜条断裂时,用4~6把氧—乙炔焰火炬加热端环,待全部焊缝均熔化时,使用图1-11所示的拆卸端环专用工具,将端环卸下。
清理铜条端头,将槽内铜条全部抽出,并将槽内清洁干净。然后用大锤把端口垫有软金属的铜条均打入槽内,使其松紧程度适宜,铜条伸出铁芯的长度应相等。再按原始记录套入端环,铜条与端环孔的配合间隙在0.1mm左右,较后将其焊接牢固即修复。
▲图1-11 拆卸端环专用工具
(5)端环断裂的修理
端环断裂时,通常采用以下修理方法。
①把断裂处面积用凿子适当扩大,之后将该处加热至450°左右,再用63%的锡、33%的锌及4%的铝熔铸成的焊料进行焊补即可。若断裂处面积很大,无法焊补时,只能重新浇铸。
②把转子加热至650~700℃,待端环全部熔化时,将其全部倒出。之后把槽孔清洗干净,用比转子铁芯稍长、形状与槽孔相似的紫铜棒插入槽孔中,再将紫铜棒长出铁芯部分敲弯,倒向一边相互重叠,用气焊焊成一体成为端环,在车床上将端环车平即可。
铸铝转子断裂时,应依据转子的断裂情况不同,采取相应处理措施。
①当铝导条或铝端环局部有裂纹时,可将裂纹两边用尖凿剔出坡口或梯形槽,之后用氩弧焊补焊即可。
②当铝导条或铝端环局部有裂缝时,可将裂缝处用尖凿剔出坡口,用喷灯将其加热到400~500℃,之后用63%锡、33%锌及4%铝熔铸成的焊条由气焊填补裂缝即可。
③对于小型电机,可用长钻头把故障的笼条钻通,之后将槽内残铝清除干净,再插入直径相同的新铝条,与端环焊成整体,把焊接处填平即可。
若铸铝转子断裂严重,原则上更换新铝转子。现场解决铝转子严重断裂故障的方法,多是采用烧碱溶铝法把铸铝转子改为铜条转子。
滑动轴承分带(或不带)衬油环润滑的整体式滑动轴承、套筒式滑动轴承及带油环润滑的分解式滑动轴承等。整体式滑动轴承一般用于小型电机,分解式滑动轴承则用于大中型电机。
滑动轴承的轴颈包在轴承中间做相对滑动,依靠轴承中的润滑油膜形成半液体、半干性摩擦。因此,在缺润滑油的情况下极易造成轴承严重磨损,若不及时停车修理会使轴承温度升高而导致合金熔化,损伤轴颈或使电机定、转子相擦。
拆卸滑动轴承时,应先将端盖油箱内的机油倒出。对于套筒或滑动轴承,要将其外面的紧固螺钉拧松,再把端盖的止口面朝上平放,而尖缘在端盖内侧的套筒式滑动轴承止口面应朝下放,在端盖下面垫上套管,套管应放到轴承外面,以防折断油环或卡住轴承,然后将金属棒顶在轴承的内套圈上,用手锤将轴承敲出。
修理滑动轴承时,先在轴承的磨损表面浇一层铅,再镗成正确的孔径。具体做法如下。
在轴承浇铅前先在轴承内孔表面车或凿出截面为燕尾形的槽,以使浇上的铅与轴承体牢固地结合在一起。再在轴承内表面挂锡,并趁锡尚未完全凝固时立即浇铅。挂锡前应在欲挂锡的表面抹一层盐酸或硫酸,用热水冲洗、晾干。挂锡时先用喷灯将轴承加热至焊锡熔化温度250~270℃,然后涂上一层氯化锌溶液,再撒上一层氯化铵粉即可挂锡。浇铅时要在轴承孔内放一只直径略小于轴颈的泥芯,将熔融的铅液浇入泥芯与轴承孔壁之间的间隙中。铅层的厚度可用下式计算:
S=0.02d+2(mm)
式中d——轴颈直径,mm。
铅层的较大厚度不应大于10mm,较小厚度不应小于表1.7中的数值。
▲表1.7 轴承铅层的较小厚度与轴颈直径的关系(mm)
在青铜或铸钢轴承上浇铅时,不需车或凿燕尾形槽,但要挂锡。铅层的较小厚度取表1.7中数值的一半。
轴承镗好孔后,为使润滑脂流到轴颈的四周,应在孔壁上车或凿出油槽。油槽形状有斜纹、螺纹及曲纹等多种。油槽尺寸与轴颈直径相关,可参照表1.8中的规定。
▲表1.8 油槽尺寸与轴颈直径的关系(mm)
此外,开油槽时不能开在轴承内壁受轴压力的部位,亦不能开在轴承边缘,以防漏油。
滑动轴承在运行中的常见故障现象、原因及排除方法列于表1.9。
▲表1.9 滑动轴承的常见故障现象、原因及排除方法
▲续表
转轴是电机传递转矩、带动机械负载的主要部件,它必须有足够的机械强度来传递电机的功率,并要有足够的刚度以保证电机运行时不产生震动而导致定子与转子相碰。电机转轴一般是用35号或40号钢制成。
正常的电机转轴,除应具有足够的机械强度及刚度外,尚应几何中心线呈直线;轴颈保持正圆;轴表面光滑,无穴坑、波纹及刮痕;键槽工作面应垂直、平整,无裂痕和损伤。
电机转轴常见的损坏为轴头弯曲、轴颈磨损、轴开裂及轴断裂等。其损坏原因除制造质量问题外,多数是使用或拆装不当而造成。
欲检查转轴是否弯曲,可将转轴置于车床上,如图1-12所示。
用百分表或划线针检查确定转轴的弯曲部位及弯曲程度。
当转轴弯曲不大时,可采用磨光轴颈、滑环或换向器等办法,来消除因转轴弯曲而对转子铁芯段所造成的影响。对于小型电机,亦可磨光转子铁芯段,但转子与定子之间增大的间隙不能超过正常间隙的10%。
▲图1-12 在车床上检查转轴弯曲度
当转轴弯曲较大,弯曲度超过0.2mm时,则应对转轴进行矫正。转轴常用矫正方法,有冷态矫轴法和热态矫轴法。
(1)冷态矫轴法
冷态矫轴法又分压力矫轴法和捻打矫轴法两种。
①压力矫轴法。其适于小型电机转轴弯曲的矫正。它是将转轴在压力机或螺旋压床上进行矫正,如图1-13所示。
▲图1-13 压力矫轴法
矫正时,将转轴及铁芯(即转子)置于两个等高的支架上,之后将转子转动360°(一周),用百分表测出转轴或铁芯的凸出面,并使凸出面朝上,将压力机的压杆对着凸出面施加压力,同时用百分表检测转轴的弯曲度。当所施加的压力使百分表指示轴已朝反向弯曲时,再缓慢撤除压力,记录百分表的变化值。如此反复施压,逐渐加大压力矫正,使百分表指示轴已反向弯曲0.03~0.05mm为止,即矫轴完毕。
②捻打矫轴法。其适于直径较大的转轴弯曲矫正。它是使转轴的凹陷面朝上,在转轴凸起部位放有支架A。支架上垫放一块厚8~10mm、宽80~100mm的铝板,铝板上放两根直径为20~30mm的锡条,铝板及锡条成圆弧状,如图1-14所示。
▲图1-14 捻打矫轴法
矫轴时,在距捻打位置较近的一端用螺栓压板向下施压,转轴的弯曲部位即承受捻打力,这样该部位的金属纤维在凹陷处承受拉伸力,而凸起处则承受压缩力,其结果是弯曲部位被拉直。
捻棒由直径25mm、长350mm的黄铜棒制成,下端呈与转轴相吻合的弧形,以防捻打时损伤轴面。捻打工具为手锤,重1~2kg。
捻打时从凹陷较大部位开始,捻打次数应多些,之后左右交替均匀移动捻棒捻打,距凹陷较大部位越远捻打次数应越少。每捻打一遍,要用百分表测量转轴弯曲度变动值一次,直至转轴矫直为止。刚捻打时,转轴伸直速度较快,捻打速度可快些,而后捻打速度逐渐减慢。当接近转轴矫正值时,要注意矫正不能过头。
(2)热态矫轴法
当电机的转轴直径较大,弯曲度亦较大时,可采用热态矫轴法进行矫直。热态矫轴法分先加压力后加热矫直及先加热后加压力矫直两种。
①先加压力后加热矫直。将转轴弯曲部位朝上放在两端支架上,在弯曲部位附近施加压力并增大,使弯曲部位朝相反方向变形,用百分表测其变形程度。之后用湿石棉布将不需要加热的部分包好,露出需要加热部位。此时,弯曲部分仍在施压,即在施压状态下用焊枪对变形部位加热。加热时逐渐扩大加热范围,均匀地移动焊枪,使加热区域温度达600~700℃,呈现暗樱桃色。在加热过程中,随时用百分表检测转轴的弯曲程度,并视其情况补增一些压力。通常,采用3号、4号或5号焊枪,第一次加热时间在3~20min。加热时间依据转轴弯曲程度及转轴直径大小确定。
待加热矫直至符合要求时,立即用干石棉布盖在加热部位保温,使转轴自然冷却至室温。尔后,撤除压力,用百分表测量转轴弯曲部位是否矫直。若未达到要求程度,可按上述步骤再矫直一次。矫直时可以矫过头0.05~0.075mm,因转轴矫直后需进行局部或全部退火处理,这样矫过头的数值会自行消失,使转轴的矫直恰到好处。
②先加热后加压力矫直。电机转轴弯曲严重时,可采用先加热后加压力矫直的方法。矫直时,先对转轴的弯曲部位整个圆圈进行均匀加热,待温度达到600~700℃时,用压力机加压,将转轴弯曲部分矫直。在矫直过程中,用百分表检测矫直状况。当符合要求时,压力保持不变,亦用干石棉布盖在加热部位保温,直至转子冷却到室温再撤除压力。
除上述矫直方法,尚可用电焊在弯曲处表面均匀地堆焊一层,之后置于车床上以转子外径为准找出中心,车成所需尺寸并用千分尺检查。
电机机座(又称机壳)是用于支撑定子铁芯及固定电机的,两个端面还用来固定端盖及轴承。
由于制造、搬运、使用及拆修时不当等原因,往往造成机座损伤,影响电机的正常运行。机座的常见故障是变形、破裂、散热片损坏及止口处损伤等。一旦发生上述故障,电机将因运行不平稳而震动、扫膛、温度升高及声响严重,并给电机的拆装带来困难。
电机机座的底脚是由铸铁制成的。若其安装不平则电机运转时产生震动,或受机械力作用均可能造成机座底脚开裂或断裂。当机座底脚开裂或断开时,可用铸铁焊条焊接修复。在焊前为清除铸铁的内应力,要用喷灯将焊接处加热至600℃左右,焊好后使其自然冷却。
若断裂部分距电机铁芯很近,或者两边底脚全部断裂,这时如果采用电焊焊接将损坏定子绕组,应使用角铁修复。根据底脚的尺寸选择相应的角铁,并加工成底脚形状,再用螺栓紧固在电机的机壳上。
当机壳有裂缝时,其内的铁芯会松动,此时可用电焊修复。但焊接前要将裂缝紧固,以防焊接后机壳变形。焊接时应注意铁芯位置不能偏移,并保证铁芯在机壳内不会松动。为消除机壳的内应力,补焊后应将机壳放入稻草灰或烘房中使其缓慢冷却。
对于机壳的裂纹尚可采用锡铅合金补焊。锡铅合金是将73%的锡与27%的铅置于坩埚或铁质器皿中加热软化,均匀混合后,铸成细长形焊条制成的。将机壳裂纹处用凿子剔出坡口,并清除铁屑及油污,之后用喷灯将裂纹处加热至100℃左右即可用锡铅合金焊条补焊。补焊时先用镪水或其他强氧化剂除去坡口的锈蚀,再用少量锡铅合金在上面打底,待锡铅合金与坡口的铸铁材料结合后再涂焊,直至焊平为止。
电机的端盖多为铸铁制成,其作用是支撑电机转子转动和保护线圈的端部。电机端盖的常见故障是端盖破裂、端盖止口松动、端盖止口损伤、端盖轴承孔与轴承之间的间隙增大等,其修理方法简述如下。
(1)端盖破裂
当端盖出现严重裂纹时,若具有浇铸及机械加工条件,则应浇铸新端盖。若受条件限制,不能浇铸新端盖时,可视其裂纹程度,采用电焊、铜焊及胶粘剂粘补等方法进行修理。
采用电焊或铜焊时,为防止端盖裂纹在焊接时延伸,若裂纹在平面的中间,可在裂纹的两边各钻一个直径2.5~3mm的孔;如果裂纹由端盖边缘裂向轴孔方向,可在裂纹终点钻一个直径2.5~3mm的孔。之后用尖凿在裂纹处剔出坡口,将端盖加热至180~250℃,即可用铸铁焊条予以焊接。当用铜焊条焊接时,则端盖不需预热,直接用铜焊条焊接即可。为防止产生新的裂纹,焊接完毕,要用木炭粉或稻草灰等对焊缝进行保温,使其慢慢冷却。冷却后,要检查端盖有无变形,并把端盖的配合面加工至原尺寸及粗糙度。
当不具备焊接条件而生产又急需将端盖修复,或者裂纹较多不宜焊接时,可视其端盖裂纹或破裂程度,采用铆接或螺栓紧固进行修复。修补时,依据裂纹形状截取大小适宜、厚5~8mm的钢板,并在钢板及端盖上分别钻好相应的孔,之后用铆钉将钢板与端盖铆紧,或用螺栓把钢板固定在端盖上,以加强因裂纹而降低的机械强度。
当既不具备焊接条件又不具备铆接或螺栓紧固条件时,可采用胶粘剂粘补。粘补前,为防止裂纹延伸,先在裂纹始、末端钻孔。之后用錾子沿裂纹剔出60°V形槽至两端的止裂孔。V形槽深度为端盖厚度的50%左右。再用脱脂棉签浸丙酮将槽的粘接面擦洗干净。把铁锚牌101甲、乙两组分聚氨酯胶,按2∶1的体积比在玻璃器皿中搅拌均匀,填满V形槽,并用刮刀刮平。再将端盖放入烘箱内,在100℃下烘焙2h,使胶粘剂完全固化。胶粘剂固化后,端盖便可组装使用。
(2)端盖止口松动
端盖止口与机座配合的松紧度,直接关系着电机能否正常运行,其间允许的较大间隙列于表1.10。
▲表1.10 端盖止口与机座配合的允许较大间隙(mm)
端盖止口松动时,通常是采用电镀法使止口紧固。
(3)端盖轴承孔与轴承间隙增大
当端盖轴承孔与轴承间隙和规定值相比超过0.05mm时,会导致电机的转子与定子相擦。此时,一是在车床上把端盖轴承孔车去一部分,之后车削一个适宜的套筒镶进去,再车成原轴承孔尺寸;另外,还可在磨损的轴承孔内表面上电镀一层镍,使轴承孔恢复至原有尺寸。
(4)端盖止口损伤
当端盖止口表面损伤及有污垢时,可用刮刀将污垢刮干净,之后用锉刀及油石把伤痕锉磨平滑,再抹上机油,便可装配使用。
电机的定子、转子铁芯均是用硅钢片叠压而成,硅钢片间相互绝缘并用铁压圈压紧或用环形键固定在机壳或转轴上。
铁芯常见故障有表面擦伤、片间绝缘损坏、铁芯松弛、硅钢片扇张及槽齿熔毁等。
铁芯表面擦伤,多是轴承损坏、转轴弯曲、端盖止口磨损及装配质量不良或落入异物等造成。铁芯表面擦伤时,可用硝酸进行腐蚀,不必起出线圈,对硅钢片绝缘亦无影响。
在用硝酸腐蚀前,先配好浓度为34%的硝酸溶液;把铁芯段间通风沟用石棉布或玻璃丝布进行堵塞;擦伤处附近的线圈及槽楔表面和铁芯间的缝隙处用油灰堵严,以防硝酸溶液流入线圈内部;待腐蚀处理部分的铁芯露出,其余部分用石棉盖住。
之后,用手砂轮沿铁芯纹路方向打磨短路处的硅钢片,至能看清片间纹路为止,以防短路深度扩大。用毛刷蘸硝酸溶液涂刷已清洁干净的短路处,直至将硅钢片短路毛刺腐蚀掉,呈现清晰片间纹路为止。然后用毛刷蘸清水把腐蚀过的铁芯表面清洁干净,再将用酒精浸湿的试纸贴在表面上,若试纸不呈红色即表明无酸性反应。较后根据硅钢片的绝缘等级,将相应的绝缘漆涂刷在处理过的铁芯表面,并予以烘干处理。
当铁芯松动或两侧压圈不紧时,可用两块钢板制成外径略小于定子绕组端部内径的圆盘,在其中心开孔穿一个双头螺栓,再紧固双头螺栓将铁芯夹紧。
槽齿歪斜时可用尖嘴钳修正。若铁芯中间松弛,可在松弛部分打入绝缘纸板等硬质绝缘材料。如果硅钢片上有毛刺或机械损伤,可用细锉除去毛刺,把凹陷处锉平,再用汽油清洗干净,而后涂上一层绝缘漆。
当铁芯烧坏或熔毁的表面不大又未延伸到铁芯深处时,可用凿子将烧坏或熔毁部分剔去,再用细锉及刮刀除去毛刺并清除异物,重新涂上一层绝缘漆。
扇张是铁芯的较普遍现象,是一种不可忽视的隐患,虽不能立即造成事故,但危害很大。扇张的齿部冲片在电磁力的作用下,将产生震动使电机噪声增大;扇张的冲片因不断地磨损线圈绝缘,会导致线圈发生接地故障;扇张的冲片由于长期震动,会疲劳折断,断落的冲片容易刮伤端部线圈的绝缘。
造成铁芯扇张的原因有:拆除旧线圈时,因操作不慎将齿部冲片压倒,致使冲片弯曲、变形;采用加热法烧掉旧线圈绝缘时,齿的端部过热变形,片间绝缘烧焦,冲片向外翘曲;端部压紧装置不完善或根本无压紧装置。
铁芯出现扇张现象时,一是增加辅助压圈将扇张部分冲片压紧;另外,可用汽油将扇张冲片上的锈蚀、油污清洗干净,把铁芯加热至50~60℃,之后将配制好的环氧树脂胶填入扇张冲片缝隙内,再用夹具把扇张冲片压紧到正常位置,在压力下室温固化8~12h,卸下压紧夹具即可。
在小型电机运行中,铁芯齿部的扇张值不能超过表1.11中规定值。
▲表1.11 小型电机铁芯齿部扇张允许值(mm)
当铁芯冲片短路、线圈匝间短路或线圈对地绝缘击穿产生电弧时,均将导致铁芯齿、槽局部烧损。
铁芯槽局部烧损时,将烧损区域内的线圈起出来,之后用扁凿或钢铲把烧熔在硅钢片上的黏结块清除干净,再用小直径风砂轮将铁芯凸凹不平的伤痕打磨平。用刀片将齿部冲片一片片地撬开,并清除毛刺和涂上硅钢片绝缘漆。若冲片较难撬开时,可采用硝酸溶液予以腐蚀处理,再涂上绝缘漆。
在检修过程中挤紧的铁芯部分,均应涂上462号沥青油漆,予以保护。
换向器是直流电动机和交流变速电动机的重要组成部分,分普通换向器及塑料换向器两大类。普通换向器的结构如图1-15所示。
▲图1-15 普通换向器的结构
换向器的常见故障有以下几种。
①换向器片间短路。
②换向器接地。
③换向器飞(跳)片及变形。
④升高片松动或断裂。
⑤换向片表面有伤痕或磨损等。
当换向器损坏需要修理时,必须将其拆卸。拆卸时,先在换向器上围一层厚0.5~1mm的弹性纸作衬垫绝缘,再用直径1.2~2mm的钢丝绕一圈或者用铁箍箍紧,并做好压环与换向片间相对位置的标记,之后拧松螺母,取下V形压环。若V形压环过紧时,可垫一层压板后用小锤均匀地轻敲V形压环的端面,松动后即可拆下。将套筒与另一个V形压环取出后,便可检查换向片间、V形槽表面及V形云母环,并做相应修理。
通常云母片是粘贴在换向片上的,需用小刀将其揭开。换向片上的云母细粒亦应刮除。如果刮出刀痕,可用中级砂布将其两面磨光。完好无损的云母片要保留,以便用千分尺测量厚度。云母片的厚度一般在0.5~1.0mm,宽约60mm,长约90mm。云母端环亦应保留,以作为制作新云母环的样本。
|